本文提供一种散热风扇固定装置,特别是指一种电脑主机的散热风扇固定装置。
电脑主机是为电脑的灵魂,由于其内具有一些发热元件,如CPU,所以在散热上极为重要,尤其是目前的资讯水蜜桃视频一级在线追求大容量与高效率之际,散热即成为不得不面对的问题。
不可否定,目前的散热方式,是以所谓“散热风扇”为之,亦即经由风扇的吹风,使热量被驱除,所以,散热风扇的设置,乃至于其与机壳本体间的连接,值得水蜜桃视频下载关切。
于较大型主机场合,其所需的散热风扇当不止一只,如电源用的,发热元件用的,乃至于其它元件使用的,在多风扇设置场合,若分别设置,在组装上,乃至于机壳设计上,更是复杂,所以,如何以简洁与便捷的设计,而为电脑主机的散热风扇的固定,是值得水蜜桃视频下载关切的课题。

有鉴于此,本文的目的在于提供一-种电脑主机的风扇固定装置,其可使散热风扇的固定,更为便捷,且不论在组装上或拆卸换装,均可有效节省人工,尤其是,其简洁的设计,使主机下盖可腾出较为方正的空间,此有助于电脑中的电路板的排列。
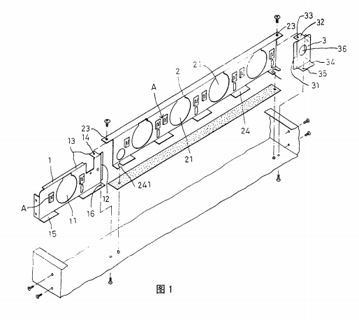
本文一种电脑主机的风扇固定装置,是可垂直固设于电脑主机下盖,其特征在于,其包括:一左片,是为金属片体,其具一贯穿的左孔供散热风扇嵌置,右侧缘则一-体冲压向后形成具一段落差的左缘,上方则一体延伸并弯折形成水平向的顶片,且开具一顶孔,下方亦一体延伸并弯折形成水平向的底缘,且开具一底孔;一中片,亦为金属片体,且具若干的中孔,上方一体延伸弯折形成水平向的中顶片,且端处开具中顶孔,而其底部则具若千一体延伸弯折呈水平向的中顶片,且端处开具中顶孔,而其底部则具若千一体延伸弯折呈水平向的中底片;一右片,是为金属片体,左侧具一体冲压形成落差的右片左缘,且上方亦一体延.伸呈水平向的右底片,且开具右底孔;右片以底孔螺合于机壳下盖,且右片以右底片孔螺合于机壳下盖,中片则以中孔螺合于左片的顶孔及右片的右顶孔,以形成定位。
其中的中片外侧两中底片得开具中底片槽,以供嵌合于下盖突起的榫体。
其中的左孔与中孔周缘,得设置构件以供散热风扇组装。
其中的左片是供电源风扇嵌置,而右片得开具右片孔以供线路的穿越。