本文涉及一种电脑散热风扇定位装置,特别是涉及一种可根据电脑基板上中央处理器的位置调整散热风扇并使电脑系统获得最好的散热及通风效果的定位装置。
散热及通风是电脑系统中最重要的问题之一,特别是对于电脑基板上的发热电子元件,如中央处理器所产生的热量,若不能及时、适当地加以排除,势必影响电脑整体功能。以往对于电脑内部的散热问题,其解决方法均采用增加电脑壳体内空气对流以达到散热目,其大致可区分为下列两大类:
1.被动式对流散热,一般装设散热片(Heat Sink)于中央处理器,藉电脑系统内电源供应器的风扇带动电脑壳体内空气的流动,并配合电脑壳体.上适当位置的通风孔,造成壳体内外空气对流,带走中央处理器所产生的热。
2.主动式对流散热, 在装设散热片的中央处理器上直接增设一散热风扇,迫使空气对流集中于中央处理器的正上方,藉此排出中央处理器所产生的热。

对于整体电脑系统而言,被动式对流的散热效果显然不如主动式对流散热好。然而,主动式对流散热仅将空气对流集中于中央处理器,对于电脑内部其它热源的散热效果并不见得比被动式对流散热效果好。同时,主动式对流散热必须加装一尺寸较小的风扇,该散热风扇的工作效率常常受到中央处理器的温度影响,而会有不稳定甚至使风扇寿命减短的情形发生,进而影响中央处理器的操作特性。况且,散热风扇的尺寸越小其制造的困难度及精密度要求就越高,同时又必须降低温度对其所产生的影响,因此,在成本上显然会比被动式对流散热装置超出许多。
不论是被动式对流散热还是主动式对流散热,当电脑壳体内插置扩充卡及其它排线等装置后,电脑壳体内空气流通十分不流畅,进而影响其散热效果。倘若在电脑壳体特定位置加装散热风扇,增加壳体内空气对流,不论中央处理器以主动式对流散热还是被动式对流散热,都将增加电脑系统的散热效率。然而,相同规格下不同的电脑基板上,其中央处理器所配置的位置也不完全相同,增强后的散热气流无法确定通过每一不同电脑基板配置的中央处理器位置,以达到最好的散热效果。因此,中央处理器散热的问题仍旧无法得到最好的解决方案。
由上述可知,现有技术中不论是主动式被动式对流散热或者在电脑壳体上加装风扇,对于电脑壳体内的散热均存有一定的问题并急需改善。以上相关的现有技术可参考美国专利第4,712, 159、4, 890, 196、5, 208, 731、5, 276, 585、5, 486, 980以及5, 502, 619号等。
本文的目的在于提供一种电脑散热风扇定位装置,可将散热风扇固定在可使空气产生适当对流的位置,使电脑基板的发热电子元件,如中央处理器等,能获得最好散热效果。
本文的另一目的在于提供一种电脑散热风扇定位装置,其可将电脑壳体外部的空气导入,使该空气直接送到电子元件上方,以达较好的散热效果。
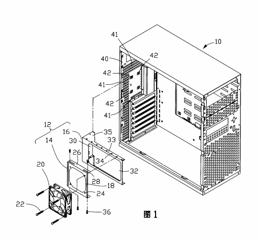
本文的目的是这样实现的,一种电脑散热风扇定位装置,装设于电脑壳体,其上的电脑风扇组合体用以冷却电脑基板上的电子元件,该电脑散热风扇定位装置包括:固定架,装设于所述电脑壳体;散热风扇固定架,用以装设所述电脑散热风扇组合体;藉此, 该电脑散热风扇组合体可将冷却空气导入所述壳体内,并使空气流通于该电子元件以达到散热效果。
本文还提供一种电脑散热风扇定位装置,装设于电脑壳体,所述电脑风扇用以冷却电脑基板上发热的电子元件,所述电脑风扇定位装置包括:第一部分,装设于所述电脑壳体;第二部分,用以装设电脑散热风扇组合体;所述电脑.壳体在装设所述电脑散热风扇定位装置部位周缘设有至少一通孔,所述电脑风扇组合体可将冷却空气经所述通孔导入所述壳体内,使空气流通于所述电子元件以达到散热的效果。
本文的主要特点是,将散热风扇装设于电脑壳体.上,可将电脑壳体外的空气导入并加强电脑壳体内空气对流,并可配合电脑基板上中央处理器的位置,改变散热风扇的位置,使空气的对流集中于中央处理器,进而造成中央处理器获得最好的散热效果。其主要包括有:风扇座,用于装设电脑散热风扇;支架,包括固定架(第一部分)及风扇固定架(第二部分),其中,该固定架固设于电脑壳体,该散热风扇固定架用于装设风扇座,且可根据电脑基板配置的不同调整该风扇座的位置。
本文装置的优点在于,其可配合电脑基板的配置,调整风扇的安装位置,从而达到散热最好的效果,且安装方便,拆御容易,以致便于风扇拆装。