水蜜桃视频下载,水蜜桃视频在线观看一区二,水蜜桃视频一级在线,网友自拍水蜜桃视频高清在线播放

    

    language 中文简体 中文繁体 English 目录在线 目录下载 收藏水蜜桃视频下载在线留言站点地图

    水蜜桃视频下载电机散热风扇厂家专注如AC网友自拍水蜜桃视频高清在线播放,DC直流散热风机生产
    深圳工厂:0755-28035670业务专线:13603004952

    台湾水蜜桃视频下载 - 32年散热风扇研发制造工厂

    Taiwan SANJU Electric

    深圳市水蜜桃视频下载电机有限公司

    聚焦水蜜桃视频下载,了解更多风扇知识

    ​一种便携式风扇型笔记本电脑散热风扇

    行业新闻​一种便携式风扇型笔记本电脑散热风扇

    一种便携式风扇型笔记本电脑供电装置,含有安装电脑散热风扇的散热座…

    Sep 09, 2019
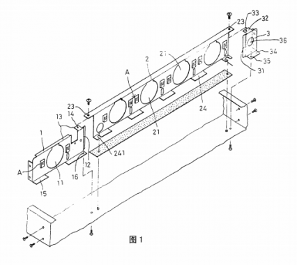
    ​一种电脑机箱用的电脑散热风扇

    行业新闻​一种电脑机箱用的电脑散热风扇

    本文涉及降低电脑机箱内温度的装置,特别是一种电脑机箱用的电脑散热风扇装置。 …

    Sep 09, 2019
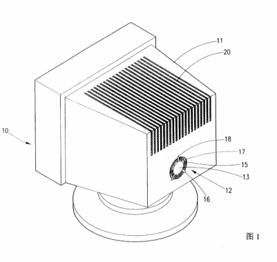
    ​导风罩式电脑CPU散热风扇

    行业新闻​导风罩式电脑CPU散热风扇

    本文涉及一种电脑CPU散热风扇,特别是涉及一种导风罩式电脑CPU散热风扇。 …

    Sep 04, 2019
    ​一种散热效果较佳的的电脑显示器的散热风扇结构

    行业新闻​一种散热效果较佳的的电脑显示器的散热风扇结构

    ​本文涉及一种电脑显示器内建式散热风扇,尤指一种散热效果较佳的的电脑显示器的散热风扇结构。…

    Aug 22, 2019
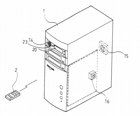
    ​电脑主机的遥控散热风扇

    行业新闻​电脑主机的遥控散热风扇

    本文涉及电脑主机的散热风扇,尤指一种可由外部遥控且能依据不同温度的变化自动调控风扇转速的电脑主机的遥控散热风扇。…

    Aug 12, 2019
    ​一种电脑主机散热风扇固定装置

    行业新闻​一种电脑主机散热风扇固定装置

    本文提供一种散热风扇固定装置,特别是指一种电脑主机的散热风扇固定装置。…

    Aug 07, 2019
    ​一种电脑散热风扇的导流装置

    行业新闻​一种电脑散热风扇的导流装置

    本文涉及一种电脑散热风扇的导流装置,尤其是这样一种笔记本型电脑散热风扇的导流装置…

    Jul 31, 2019
    散热风扇配置装置使风扇减少回流、降低噪音、增加寿命

    行业新闻散热风扇配置装置使风扇减少回流、降低噪音、增加寿命

    以往笔记型电脑 散热风扇 配置装置有下列的缺点 (1)散热风扇的垂直回流 (2)容易产生较大噪音——风源的回流与散热扇叶形成干扰,容易造成较大的噪音。 (3)散热风扇的寿命减短, 本设…

    Jul 31, 2019
  1. 首页
  2. 上一页
  3. 11
  4. 12
  5. 13
  6. 14
  7. 15
  8. 16
  9. 17
  10. 18
  11. 19
  12. 20
  13. 21
  14. 下一页
  15. 末页
  16. 28223条记录
  17. 
    关闭

    微信公众号

    咨询热线
    +86-755-2803-5670
    在线客服
    top
    网站地图